EJ20K
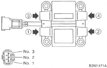
This variant uses waste spark ignition, with 2x dual-post coils combined as a single unit, and uses an external 2x channel igniter module.
There are a few variants of this coil but all operate with the same principle.
Coil Wiring
Coil Pin
   | Function
   | 
1
   | To Igniter Pin 5 (Cylinders 1+2)
   | 
2
   | 12V+ Swtiched
   | 
3
   | To Igniter Pin 6 (Cylinders 3+4)
   | 
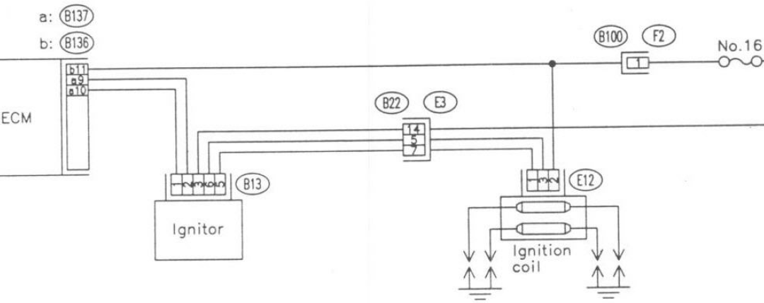
Igniter WiringIgniter Pin
   | Function
   | Haltech Connection
   | 
1
   | Signal From ECU 1
   | Ignition Output 1
   | 
2
   | Signal From ECU 2
   | Ignition Output 2
   | 
3
   | Ground to Cylinder Head
   | ---
   | 
4
   | No Connection
   | ---
   | 
5
   | Coil -ve Signal Cylinder 1+2
   | ---
   | 
6
   | Coil -ve Signal Cylinder 3+4
   | ---
   | 
Dwell
EJ205 and EJ207
This variant uses coil-on-plug ignition with internal igniters in each coil. These coils can be wired directly to the Haltech ECU.
Coil Wiring (Pin 1 nearest locking tab)
Coil Pin
   | Function
   | Haltech Connection
   | 
1
   | ECU Signal
   | Ignition Output
  | 
2
   | Ground to Cylinder Head
   | ---
   | 
3
   | 12V+ Ignition Switched
   | ---
   | 
Dwell

Throttle Position Sensor
This engine uses a cable operated throttle body with a position sensor.
EJ20G and EJ20K
Pin
   | Function
   | Haltech Connection
   | 
1
   | Ground
   | Signal Ground
   | 
2
   | Signal
   | AVI
  | 
3
   | Power
   | 5V+
  | 
EJ207Pin
  | Function
  | Haltech Connection
  | 
1
  | Power
  | 5V+
  | 
2
  | Ground
  | Signal Ground
  | 
3
  | Signal
  | AVI
  | 
MAP Sensor
This vehicle comes with a MAP sensor. This is located on the RHS of the engine bay near the strut tower.  The sensor is only used by the OEM ECU for boost control. It is possible to use the sensor for engine tuning however they do not read the full vacuum range that the engine can experience.  Using the MAP sensor that comes with your Haltech ECU is the better option and requires a vacuum hose to be run from the intake manifold to the ECU. For higher boost levels an external MAP sensor should be used instead, connected to a spare AVI.
EJ207 OEM MAP Sensor
Pin
   | Function
   | Haltech Connection
   | 
1
   | Signal
   | AVI
   | 
2
   | Ground
   | Signal Ground
   | 
3
   | Power
   | 5V+
   | 
Variable Cams
Subaru name their variable cam system as AVCS (Active Valve Control System).   Early models do not have AVCS, with it being introduced in the late 2002 model EJ207 engine on the intake cams only.
Models that have AVCS have the normal crank and cam positions sensors as for earlier models, however they have an additional sensor for each intake cam to supply a cam position signal to the ECU to allow cam control.  A duty control solenoid is present for each cam actuator with the system operating in closed-loop.
Never go full retard!
The additional cam position sensors are Reluctor sensors.
Pin
  | Description
  | Haltech Connection (Home 4-core)
  | 
1
  | Reluctor +
  | Any Spare SPI
  | 
2
  | Reluctor -
  | Signal Ground
  | 
The control solenoids are wired to any spare output except ignition outputs.
Pin
  | Description
  | Haltech Connection (Home 4-core)
  | 
1
  | 12V+ Ignition Switched
  | ---
  | 
2
  | Signal
  | Any Spare Output
  | 
Idle Valve
The EJ20 engine has multiple types of idle control systems used throughout the variants.  All are supported by Haltech ECUs, with some exceptions.
EJ20G (MY93-97 GC8A to GC8E)
This variant has 3-pin valve located on the intake manifold. It will have two pins that connect to 2x spare outputs of the Haltech ECU.  It is configured as a BAC 3-wire Bi-Directional.
A base air flow can be adjusted by loosening the phillips head screws and rotating the plastic connect section.
Pin
  | Function
  | Haltech Connection
  | 
A
  | Open Signal
  | Spare Output
  | 
B
  | Power
  | 12V+ Switched
  | 
C
  | Close Signal
  | Spare Output
  | 
EJ20K (MY99-00 GC8F to GC8G)
This variant has a stepper motor idle valve located on the throttle body. It is supported with Elite 1000 and higher models but is not supported by the Haltech Elite 550, 750, and 950 models.
Pin
  | Function
   | Haltech Connection
  | 
1
  | Signal 2
   | Stepper 3
  | 
2
  | 12V+ Switched
  | ---
  | 
3
  | Signal 4
   | Stepper 4
  | 
4
  | Signal 1
   | Stepper 2
  | 
5
  | 12V+ Switched
  | ---
  | 
6
  | Signal 3
   | Stepper  1
  | 
Drive Type: Low Side if 12V+ is connected. Both if 12V+ is not connected
Steps:200     Speed:80
EJ207 (MY01-05 GD)
This variant has a 3-pin valve but only a single pin will be connected to the Haltech ECU. It is configured as a BAC 2-wire. Located on the throttle body.
Pin
  | Function
  | Haltech Connection
  | 
1
  | Signal
  | Spare Output
  | 
2
  | 12V+ Switched
  | ---
  | 
3
  | Ground to Head
  | ---
  | 
Coolant Temperature
EJ20G and older variants use a conventional Coolant Temperature sensor.
EJ20K variants use a 3-pin Coolant Temperature Sensor.  It is unusual in that it is supplied a 5V+ power feed, is grounded through the block, and has 2x signal outputs. One is for the gauge and the other is for the ECU Signal.
3-pin Wiring
Pin
  | Function | Haltech Connection  | 
1
  | 5V Power | 5V+  | 
2
  | ECU Signal
  | Any Spare AVI  | 
3  | Gauge Signal  | ---  | 
Air Temp
Early models do not have an Air Temperature Sensor.  Later models have this integrated into the MAF Sensor.  Although this sensor can be used it is only measuring the temperature at the MAF (where the OEM ECU measure engine load).  For accurate tuning with a Haltech ECU the Air Temperature Sensor should be located where the engine load is being measured, so if this is with the MAP sensor the Air Temperature Sensor should be located as close as possible to the intake plenum.
Wiring is not polarity sensitive.
Pin
  | Haltech Connection
  | 
1
  | Any Spare AVI*
  | 
2
  | Signal Ground
  | 
An AVI with a selectable Pullup should be used.  If not and external 1k pullup to 5V should be connected.
Knock Sensor
All motors use a donut style non-resonant sensor that is suitable for engine tuning.
They only have a signal wire with the sensor being internally grounded through the body of the sensor to the block. 
Pin
  | Haltech Connection
  | 
1
  | Knock Signal
  | 
2
  | Signal Ground
  | 
MAF Sensor
Although most users of Haltech ECUs will be deleting the MAF, it is possible to use a MAF if you prefer.
EJ20G and EJ20K MAF
Pin
  | Description
  | Haltech Connection
   | 
1
  | Signal
  | AVI
   | 
2
  | Signal Ground
  | Signal Ground
   | 
3
  | 12V+
  | ---
   | 
EJ207 MAF
Pin
   | Function
   | Haltech Connection
   | 
1
   | 12V+ Switched
   | ---
   | 
2
   | MAF Signal Ground
   | Signal Ground
   | 
3
   | MAF Signal
   | AVI
   | 
4
   | Air Temperature Signal
   | AVI with Pullup Enabled
   | 
5
   | Air Temperature Signal Ground
   | Signal Ground
   | 
O2 Sensors
EJ20G and EJ20K have a conventional narrow band O2 sensor located at the top of the turbo downpipe.  It can be used for idle and cruising conditions but is not suitable for tuning. The sensor was prone to having the heater element fail so it is common to find these sensors already faulty when dealing with these engines.
 
EJ207 motors have a limited range 4-wire wideband O2 sensor located in the exhaust manifold.  The OEM ECU uses predicted exhaust pressure correction to use the sensor in this location, and was done to improve sensor response time by moving it closer to the cylinder head.  For a modified engine this data is inaccurate.  This location is nor suitable for performance engine tuning and should not be used.
Adding a Haltech Wideband Kit   (highly recommended)
For correct operation a Haltech WB1 kit is highly recommended for this application, with the provided 4.9 sensors replacing the pre-cat sensors on early mode..  Swapping the sensors is accessed only from below the vehicle.  Sensors use a 22mm socket or spanner to remove and replace.
For EJ207 motors with the OEM O2 sensor located before the turbo a new O2 sensor mount supplied with the kit should be added to the exhaust after the turbo on the downpipe.  You CANNOT simply replace the OEM pre-turbo sensor with the Haltech WB1 sensor as this will give incorrect readings and may cause sensor failure or engine damage. 
Vehicle Speed Sensor
This engine uses a Hall Effect Vehicle Speed sensor.
Hall Effect Speed Sensor
OEM Wiring
  | Description
  | 
| 1 - Grey/Yellow | Signal
  | 
| 2 - Grey/White | Signal Ground | 
| 3 - Grey/Black | 12V+ | 
Approximate Calibration Pulses Setting: 2500 pulses/km
Injector Data
Flow
The injector flow rate is measured with the injectors held wide open at 100% duty.  For fuel systems with a fixed regulator pressure (often returnless systems) that is not referenced to manifold pressure the flow needs to be mapped over Manifold Pressure for accurate tuning.
Flow data for each model is found in the supplied base map that comes with ESP.
Dead Time
When an injector is commanded to open for a certain amount of time, the dead time is the amount of time the injector is not actually open during this period.  It covers the time to energise the solenoid and begin to open and the time to close as well.  There are also transient periods during which the injector is opening and closing where fuel flow is not at full capacity so this lost peak flow period is also taken into account.  
Dead time data for each model is found in the supplied base map that comes with ESP.
EJ20G ECU
EJ20K (MY1998-2000)
EJ207 ECU (MY2001-2005)
   
Location
All models have the OEM ECU located in the passenger foot well under the carpet near to the firewall.
Access and Removal
Remove the kick panel and pull back the carpet to access the ECU cover.  10mm bolts hold on the sheet metal ECU cover.
ECU Pinout
<insert image of OEM ECU pinout or engine wiring diagram>
   
Base Maps
Base maps have been created for use with the Haltech Elite Adapter Harnesses.  Platinum Pro - Maps come with the ECU Manager Software.
Where applicable those maps are attached below.
To use these maps they should be IMPORTED into your ECU.  Follow the IMPORTING A BASE MAP guide.